產品介紹
產品簡介:
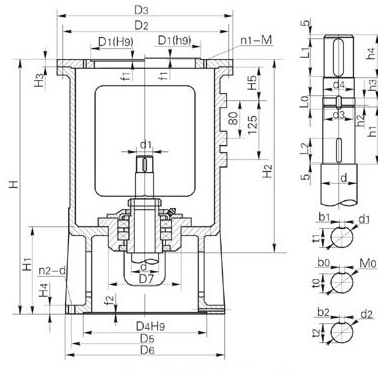
本系列機架是化工行業最新標準機架,是為攪拌傳動裝置(HG21563-95)配套的機架。XD型為單支點機架,減速機出軸用DF型聯軸器與攪拌軸 聯接,XS型為雙支點機架,減速機出軸用HL型聯軸器聯接,兩支點間用DF型聯軸器聯接。機架分A型(軸封采用2001、2003、2004、2006型 機械密封)或B型(軸封(2002、2005、2007型機械密封或506、516、606、616型填料箱)。機架輸出端接口可與第九部分(二節)所列 的安裝底蓋及釜口法蘭聯接。
本系列機架通用性強,由于選用型DF聯軸器及安裝底蓋的擱軸裝置,所以在不拆除減速機和機架的條件下,在機架的側面窗口中就可以拆出帶短節聯軸器、軸承室及機械密封或填料箱。
型號標定方法及示例:


1、XD型單支點機架
主要參數及尺寸(公稱直徑200、250、300)
機架
型號
機架
公稱
直徑
傳動軸
軸徑d
傳動軸上
端軸徑d1
減速機
輸出軸
徑d0
輸入
端接
口
輸出端接口
外形及其它尺寸
軸承型號
重量(kg)
D4
H9
D5
D6
n2-d
f2
A型
B型
H3
H4
H5
D7
H8/f7
A型
B型
H
H1
H2
H
H1
H2
XD1
200
30
20
12
見
表
245
295
340
8-22
6
575
220
415
730
295
495
17
24
85
180
46209
57
61
14
18
40
30
25
415
495
46209
57
60
30
XD2
250
50
40
30
290
350
395
12-22
6
750
268
556
995
388
681
20
30
100
245
46214
106
116
35
40
60
45
35
556
681
46214
107
117
40
45
70
55
45
565
690
46217
104
114
50
55
XD3
300
60
45
35
320
400
445
12-22
6
795
279
595
1040
399
720
20
30
100
280
46216
153
164
40
45
70
55
45
595
720
46216
150
161
50
55
80
65
55
606
731
46218
149
160
60
65
機架
型號
機架
公稱
直徑
傳動軸
軸徑d
傳動軸上
端軸徑d1
傳動軸端尺寸
M0
d2(h9)
d3
d4
h1
h2
h3
h4
L1
L0
L2
b1
b0
b2
t1
t0
t2
XD1
200
30
20k6
M25×1.5
25
22.8
22
97
3
15
48
40
23
30
6
5
5
16.5
21
22
40
30k6
M35×1.5
35
32.8
32
97
3
15
48
40
24
30
8
6
6
26
31
31.5
XD2
250
50
40k6
M45×1.5
45
42.8
42
105
3
15
58
50
24
30
12
6
6
35
41
41.5
60
45k6
M55×2
55
52
50
115
4
18
68
60
30
40
14
8
8
39.5
51
51
70
55m6
M65×2
65
62
60
125
4
18
83
75
30
40
16
8
8
49
61
61
XD3
300
60
45k6
M55×2
55
52
50
125
4
18
68
60
30
40
14
8
8
39.5
51
51
70
55m6
M65×2
65
62
60
125
4
18
83
75
30
40
16
8
8
18
61
61
80
65m6
M75×2
75
72
70
139
4
18
98
90
32
50
18
10
10
58
69
70
XD型單支點機架主要參數及尺寸(公稱直徑400,500,700)
機架
型號
機架
公稱
直徑
傳動軸
軸徑d
傳動軸上
端軸徑d1
減速機
輸出軸
徑d0
輸入
端接
口
輸出端接口
外形及其它尺寸
軸承型號
重量(kg)
D4
H9
D5
D6
n2-d
f2
A型
B型
H3
H4
H5
D7
A型
B型
H
H1
H2
H
H1
H2
XD4
400
90
75
55
見
表
415
515
565
16-26
6
890
310
691
1115
420
806
25
35
100
310
46222
251
256
65
70
100
85
65
691
806
46222
256
270
70
80
XD5
500
100
85
65
520
620
670
20-26
6
1075
369
821
1325
494
946
30
40
140
335
46224
409
435
70
80
110
90
70
821
946
46224
405
431
80
90
120
100
90
829
954
46228
401
427
95
100
130
110
95
829
954
46228
395
421
100
110
XD6
700
120
100
90
670
780
830
28-26
6
1185
399
909
1415
514
1024
35
45
100
400
46228
729
766
95
100
130
110
95
909
1024
46228
721
758
100
110
140
120
100
927
1042
46232
729
766
110
120
160
140
120
943
1058
46234
697
734
130
140
XD7
900
140
120
100
940
1070
1124
40-30
6.4
1320
440
1021
1560
570
1141
40
50
140
520
46232
985
874
110
120
160
140
120
1037
1157
46234
1000
889
130
140
180
160
140
1050
1170
46240
1010
899
150
160
200
180
160
1070
1190
46244
1032
921
170
180
機架
型號
機架
公稱
直徑
傳動軸
軸徑d
傳動軸上
端軸徑d1
傳動軸端尺寸
M0
d2(h9)
d3
d4
h1
h2
h3
h4
L1
L0
L2
b1
b0
b2
t1
t0
t2
XD4
400
90
75m6
M85×2
85
82
80
162
4
18
108
100
32
50
20
10
10
67.5
79
80
100
85m6
M95×2
95
92
90
166
4
22
118
110
38
50
22
12
12
76
89
90
XD5
500
100
85m6
M95×2
95
92
90
166
4
22
118
110
38
50
22
12
12
76
89
90
110
90m6
M100×2
100
97
95
166
4
22
118
110
38
50
25
12
12
81
94
95
120
100m6
M110×2
110
107
105
177
4
22
128
120
40
60
28
14
14
60
104
104.5
130
110m6
M120×2
120
117
115
177
4
26
138
130
44
70
28
14
14
100
114
114.5
XD6
700
120
100m6
M110×2
110
107
105
177
4
22
128
120
40
60
28
14
14
90
104
104.5
130
110m6
M120×2
120
117
115
177
4
26
138
130
44
70
28
14
14
100
114
114.5
140
120m6
M130×2
130
127
125
197
4
26
153
145
44
70
32
14
14
109
122
124.5
160
140m6
M150×2
150
147
145
207
4
30
168
160
50
70
39
16
16
128
142
144
XD7
900
140
120m6
M130×2
130
127
125
197
4
26
153
145
44
70
32
14
14
109
122
124.5
160
140m6
M150×2
150
147
145
207
4
30
168
160
50
70
36
16
16
128
142
144
180
160m6
M170×3
170
166
165
227
4
32
198
190
52
80
40
16
16
157
162
164
200
180m6
M190×3
190
186
185
242
4
32
238
230
54
90
45
18
18
175
180
182
XD、XS型機架輸入端接口尺寸
減速機輸出軸徑d0
減速機類別代號
D1
D2
D3
n1-M
f1
12
Z
65
100
120
4-M6
3
14
Z
85
120
140
4-M8
3
18
Z
100
134
160
4-M8
4
25
Z
130
160
180
6-M8
4
C
170
200
230
6-M10
3
30
C
200
230
260
6-M12
4
35
Z
170
200
230
6-M10
5
C
230
260
290
6-M12
4
40
Z
170
200
230
6-M10
5
C
230
260
290
6-M12
4
45
Z
200
230
260
6-M10
5
C
230
260
290
6-M12
4
50
Z
200
230
260
6-M10
5
C
270
305
340
8-M16
5
55
Z
270
310
340
6-M10
5
C
270
305
340
8-M16
5
60
C
320
360
400
8-M16
5
65
Z
316
360
400
8-M12
6
Z1
270
310
340
6-M10
5
減速機輸出軸徑d0
減速機類別代號
D1
D2
D3
n1-M
f1
60
C
320
360
400
8-M16
5
70
Z
316
360
400
8-M16
6
C
320
316
360
400
8-M16
5
80
Z
345
390
430
8-M16
6
Z1
316
360
400
8-M12
6
C
360
410
460
8-M20
6
90
Z
400
450
490
12-M16
8
C
360
410
460
8-M20
6
95
Z
400
450
490
12-M16
8
Z1
455
520
580
12-M20
10
100
Z
455
520</, td>
580
12-M20
10
C
470
520
580
12-M20
6
110
Z
520
590
650
12-M20
12
C
470
520
580
12-M20
6
120
Z
520
590
650
12-M20
12
C
550
600
660
12-M20
6
130
Z
680
800
880
12-M30
12
C
680
800
880
12-M30
8
140
Z
680
800
880
12-M30
12
180
Z
900
1020
1160
12-M36
12
注:1、減速機類別代號Z為x系列,B系列的擺線針輪減速C為LC型,DC型齒輪減速機。
2、其他類型減速機由我公司對接口加以調整后也可配套。
產品簡介:
本系列機架是化工行業最新標準機架,是為攪拌傳動裝置(HG21563-95)配套的機架。XD型為單支點機架,減速機出軸用DF型聯軸器與攪拌軸 聯接,XS型為雙支點機架,減速機出軸用HL型聯軸器聯接,兩支點間用DF型聯軸器聯接。機架分A型(軸封采用2001、2003、2004、2006型 機械密封)或B型(軸封(2002、2005、2007型機械密封或506、516、606、616型填料箱)。機架輸出端接口可與第九部分(二節)所列 的安裝底蓋及釜口法蘭聯接。
本系列機架通用性強,由于選用型DF聯軸器及安裝底蓋的擱軸裝置,所以在不拆除減速機和機架的條件下,在機架的側面窗口中就可以拆出帶短節聯軸器、軸承室及機械密封或填料箱。
型號標定方法及示例:


1、XD型單支點機架
主要參數及尺寸(公稱直徑200、250、300)
| 機架 型號 |
機架 公稱 直徑 |
傳動軸 軸徑d |
傳動軸上 端軸徑d1 |
減速機 輸出軸 徑d0 |
輸入 端接 口 |
輸出端接口 | 外形及其它尺寸 | 軸承型號 | 重量(kg) | ||||||||||||||
| D4 H9 |
D5 | D6 | n2-d | f2 | A型 | B型 | H3 | H4 | H5 | D7 H8/f7 |
A型 | B型 | |||||||||||
| H | H1 | H2 | H | H1 | H2 | ||||||||||||||||||
| XD1 | 200 | 30 | 20 | 12 | 見 表 |
245 | 295 | 340 | 8-22 | 6 | 575 | 220 | 415 | 730 | 295 | 495 | 17 | 24 | 85 | 180 | 46209 | 57 | 61 |
| 14 | |||||||||||||||||||||||
| 18 | |||||||||||||||||||||||
| 40 | 30 | 25 | 415 | 495 | 46209 | 57 | 60 | ||||||||||||||||
| 30 | |||||||||||||||||||||||
| XD2 | 250 | 50 | 40 | 30 | 290 | 350 | 395 | 12-22 | 6 | 750 | 268 | 556 | 995 | 388 | 681 | 20 | 30 | 100 | 245 | 46214 | 106 | 116 | |
| 35 | |||||||||||||||||||||||
| 40 | |||||||||||||||||||||||
| 60 | 45 | 35 | 556 | 681 | 46214 | 107 | 117 | ||||||||||||||||
| 40 | |||||||||||||||||||||||
| 45 | |||||||||||||||||||||||
| 70 | 55 | 45 | 565 | 690 | 46217 | 104 | 114 | ||||||||||||||||
| 50 | |||||||||||||||||||||||
| 55 | |||||||||||||||||||||||
| XD3 | 300 | 60 | 45 | 35 | 320 | 400 | 445 | 12-22 | 6 | 795 | 279 | 595 | 1040 | 399 | 720 | 20 | 30 | 100 | 280 | 46216 | 153 | 164 | |
| 40 | |||||||||||||||||||||||
| 45 | |||||||||||||||||||||||
| 70 | 55 | 45 | 595 | 720 | 46216 | 150 | 161 | ||||||||||||||||
| 50 | |||||||||||||||||||||||
| 55 | |||||||||||||||||||||||
| 80 | 65 | 55 | 606 | 731 | 46218 | 149 | 160 | ||||||||||||||||
| 60 | |||||||||||||||||||||||
| 65 | |||||||||||||||||||||||
| 機架 型號 |
機架 公稱 直徑 |
傳動軸 軸徑d |
傳動軸上 端軸徑d1 |
傳動軸端尺寸 | ||||||||||||||||
| M0 | d2(h9) | d3 | d4 | h1 | h2 | h3 | h4 | L1 | L0 | L2 | b1 | b0 | b2 | t1 | t0 | t2 | ||||
| XD1 | 200 | 30 | 20k6 | M25×1.5 | 25 | 22.8 | 22 | 97 | 3 | 15 | 48 | 40 | 23 | 30 | 6 | 5 | 5 | 16.5 | 21 | 22 |
| 40 | 30k6 | M35×1.5 | 35 | 32.8 | 32 | 97 | 3 | 15 | 48 | 40 | 24 | 30 | 8 | 6 | 6 | 26 | 31 | 31.5 | ||
| XD2 | 250 | 50 | 40k6 | M45×1.5 | 45 | 42.8 | 42 | 105 | 3 | 15 | 58 | 50 | 24 | 30 | 12 | 6 | 6 | 35 | 41 | 41.5 |
| 60 | 45k6 | M55×2 | 55 | 52 | 50 | 115 | 4 | 18 | 68 | 60 | 30 | 40 | 14 | 8 | 8 | 39.5 | 51 | 51 | ||
| 70 | 55m6 | M65×2 | 65 | 62 | 60 | 125 | 4 | 18 | 83 | 75 | 30 | 40 | 16 | 8 | 8 | 49 | 61 | 61 | ||
| XD3 | 300 | 60 | 45k6 | M55×2 | 55 | 52 | 50 | 125 | 4 | 18 | 68 | 60 | 30 | 40 | 14 | 8 | 8 | 39.5 | 51 | 51 |
| 70 | 55m6 | M65×2 | 65 | 62 | 60 | 125 | 4 | 18 | 83 | 75 | 30 | 40 | 16 | 8 | 8 | 18 | 61 | 61 | ||
| 80 | 65m6 | M75×2 | 75 | 72 | 70 | 139 | 4 | 18 | 98 | 90 | 32 | 50 | 18 | 10 | 10 | 58 | 69 | 70 | ||
XD型單支點機架主要參數及尺寸(公稱直徑400,500,700)
| 機架 型號 |
機架 公稱 直徑 |
傳動軸 軸徑d |
傳動軸上 端軸徑d1 |
減速機 輸出軸 徑d0 |
輸入 端接 口 |
輸出端接口 | 外形及其它尺寸 | 軸承型號 | 重量(kg) | ||||||||||||||
| D4 H9 |
D5 | D6 | n2-d | f2 | A型 | B型 | H3 | H4 | H5 | D7 | A型 | B型 | |||||||||||
| H | H1 | H2 | H | H1 | H2 | ||||||||||||||||||
| XD4 | 400 | 90 | 75 | 55 | 見 表 |
415 | 515 | 565 | 16-26 | 6 | 890 | 310 | 691 | 1115 | 420 | 806 | 25 | 35 | 100 | 310 | 46222 | 251 | 256 |
| 65 | |||||||||||||||||||||||
| 70 | |||||||||||||||||||||||
| 100 | 85 | 65 | 691 | 806 | 46222 | 256 | 270 | ||||||||||||||||
| 70 | |||||||||||||||||||||||
| 80 | |||||||||||||||||||||||
| XD5 | 500 | 100 | 85 | 65 | 520 | 620 | 670 | 20-26 | 6 | 1075 | 369 | 821 | 1325 | 494 | 946 | 30 | 40 | 140 | 335 | 46224 | 409 | 435 | |
| 70 | |||||||||||||||||||||||
| 80 | |||||||||||||||||||||||
| 110 | 90 | 70 | 821 | 946 | 46224 | 405 | 431 | ||||||||||||||||
| 80 | |||||||||||||||||||||||
| 90 | |||||||||||||||||||||||
| 120 | 100 | 90 | 829 | 954 | 46228 | 401 | 427 | ||||||||||||||||
| 95 | |||||||||||||||||||||||
| 100 | |||||||||||||||||||||||
| 130 | 110 | 95 | 829 | 954 | 46228 | 395 | 421 | ||||||||||||||||
| 100 | |||||||||||||||||||||||
| 110 | |||||||||||||||||||||||
| XD6 | 700 | 120 | 100 | 90 | 670 | 780 | 830 | 28-26 | 6 | 1185 | 399 | 909 | 1415 | 514 | 1024 | 35 | 45 | 100 | 400 | 46228 | 729 | 766 | |
| 95 | |||||||||||||||||||||||
| 100 | |||||||||||||||||||||||
| 130 | 110 | 95 | 909 | 1024 | 46228 | 721 | 758 | ||||||||||||||||
| 100 | |||||||||||||||||||||||
| 110 | |||||||||||||||||||||||
| 140 | 120 | 100 | 927 | 1042 | 46232 | 729 | 766 | ||||||||||||||||
| 110 | |||||||||||||||||||||||
| 120 | |||||||||||||||||||||||
| 160 | 140 | 120 | 943 | 1058 | 46234 | 697 | 734 | ||||||||||||||||
| 130 | |||||||||||||||||||||||
| 140 | |||||||||||||||||||||||
| XD7 | 900 | 140 | 120 | 100 | 940 | 1070 | 1124 | 40-30 | 6.4 | 1320 | 440 | 1021 | 1560 | 570 | 1141 | 40 | 50 | 140 | 520 | 46232 | 985 | 874 | |
| 110 | |||||||||||||||||||||||
| 120 | |||||||||||||||||||||||
| 160 | 140 | 120 | 1037 | 1157 | 46234 | 1000 | 889 | ||||||||||||||||
| 130 | |||||||||||||||||||||||
| 140 | |||||||||||||||||||||||
| 180 | 160 | 140 | 1050 | 1170 | 46240 | 1010 | 899 | ||||||||||||||||
| 150 | |||||||||||||||||||||||
| 160 | |||||||||||||||||||||||
| 200 | 180 | 160 | 1070 | 1190 | 46244 | 1032 | 921 | ||||||||||||||||
| 170 | |||||||||||||||||||||||
| 180 | |||||||||||||||||||||||
| 機架 型號 |
機架 公稱 直徑 |
傳動軸 軸徑d |
傳動軸上 端軸徑d1 |
傳動軸端尺寸 | ||||||||||||||||
| M0 | d2(h9) | d3 | d4 | h1 | h2 | h3 | h4 | L1 | L0 | L2 | b1 | b0 | b2 | t1 | t0 | t2 | ||||
| XD4 | 400 | 90 | 75m6 | M85×2 | 85 | 82 | 80 | 162 | 4 | 18 | 108 | 100 | 32 | 50 | 20 | 10 | 10 | 67.5 | 79 | 80 |
| 100 | 85m6 | M95×2 | 95 | 92 | 90 | 166 | 4 | 22 | 118 | 110 | 38 | 50 | 22 | 12 | 12 | 76 | 89 | 90 | ||
| XD5 | 500 | 100 | 85m6 | M95×2 | 95 | 92 | 90 | 166 | 4 | 22 | 118 | 110 | 38 | 50 | 22 | 12 | 12 | 76 | 89 | 90 |
| 110 | 90m6 | M100×2 | 100 | 97 | 95 | 166 | 4 | 22 | 118 | 110 | 38 | 50 | 25 | 12 | 12 | 81 | 94 | 95 | ||
| 120 | 100m6 | M110×2 | 110 | 107 | 105 | 177 | 4 | 22 | 128 | 120 | 40 | 60 | 28 | 14 | 14 | 60 | 104 | 104.5 | ||
| 130 | 110m6 | M120×2 | 120 | 117 | 115 | 177 | 4 | 26 | 138 | 130 | 44 | 70 | 28 | 14 | 14 | 100 | 114 | 114.5 | ||
| XD6 | 700 | 120 | 100m6 | M110×2 | 110 | 107 | 105 | 177 | 4 | 22 | 128 | 120 | 40 | 60 | 28 | 14 | 14 | 90 | 104 | 104.5 |
| 130 | 110m6 | M120×2 | 120 | 117 | 115 | 177 | 4 | 26 | 138 | 130 | 44 | 70 | 28 | 14 | 14 | 100 | 114 | 114.5 | ||
| 140 | 120m6 | M130×2 | 130 | 127 | 125 | 197 | 4 | 26 | 153 | 145 | 44 | 70 | 32 | 14 | 14 | 109 | 122 | 124.5 | ||
| 160 | 140m6 | M150×2 | 150 | 147 | 145 | 207 | 4 | 30 | 168 | 160 | 50 | 70 | 39 | 16 | 16 | 128 | 142 | 144 | ||
| XD7 | 900 | 140 | 120m6 | M130×2 | 130 | 127 | 125 | 197 | 4 | 26 | 153 | 145 | 44 | 70 | 32 | 14 | 14 | 109 | 122 | 124.5 |
| 160 | 140m6 | M150×2 | 150 | 147 | 145 | 207 | 4 | 30 | 168 | 160 | 50 | 70 | 36 | 16 | 16 | 128 | 142 | 144 | ||
| 180 | 160m6 | M170×3 | 170 | 166 | 165 | 227 | 4 | 32 | 198 | 190 | 52 | 80 | 40 | 16 | 16 | 157 | 162 | 164 | ||
| 200 | 180m6 | M190×3 | 190 | 186 | 185 | 242 | 4 | 32 | 238 | 230 | 54 | 90 | 45 | 18 | 18 | 175 | 180 | 182 | ||
XD、XS型機架輸入端接口尺寸
| 減速機輸出軸徑d0 | 減速機類別代號 | D1 | D2 | D3 | n1-M | f1 |
| 12 | Z | 65 | 100 | 120 | 4-M6 | 3 |
| 14 | Z | 85 | 120 | 140 | 4-M8 | 3 |
| 18 | Z | 100 | 134 | 160 | 4-M8 | 4 |
| 25 | Z | 130 | 160 | 180 | 6-M8 | 4 |
| C | 170 | 200 | 230 | 6-M10 | 3 | |
| 30 | C | 200 | 230 | 260 | 6-M12 | 4 |
| 35 | Z | 170 | 200 | 230 | 6-M10 | 5 |
| C | 230 | 260 | 290 | 6-M12 | 4 | |
| 40 | Z | 170 | 200 | 230 | 6-M10 | 5 |
| C | 230 | 260 | 290 | 6-M12 | 4 | |
| 45 | Z | 200 | 230 | 260 | 6-M10 | 5 |
| C | 230 | 260 | 290 | 6-M12 | 4 | |
| 50 | Z | 200 | 230 | 260 | 6-M10 | 5 |
| C | 270 | 305 | 340 | 8-M16 | 5 | |
| 55 | Z | 270 | 310 | 340 | 6-M10 | 5 |
| C | 270 |
305 |
340 | 8-M16 | 5 | |
| 60 | C | 320 | 360 | 400 | 8-M16 | 5 |
| 65 | Z | 316 | 360 | 400 | 8-M12 | 6 |
| Z1 | 270 | 310 | 340 | 6-M10 | 5 |
| 減速機輸出軸徑d0 | 減速機類別代號 | D1 | D2 | D3 | n1-M | f1 |
| 60 | C | 320 | 360 | 400 | 8-M16 | 5 |
| 70 | Z | 316 | 360 | 400 | 8-M16 | 6 |
| C | 320 316 |
360 | 400 | 8-M16 | 5 | |
| 80 | Z | 345 | 390 | 430 | 8-M16 | 6 |
| Z1 | 316 | 360 | 400 | 8-M12 | 6 | |
| C | 360 | 410 | 460 | 8-M20 | 6 | |
| 90 | Z | 400 | 450 | 490 | 12-M16 | 8 |
| C | 360 | 410 | 460 | 8-M20 | 6 | |
| 95 | Z | 400 | 450 | 490 | 12-M16 | 8 |
| Z1 | 455 | 520 | 580 | 12-M20 | 10 | |
| 100 | Z | 455 | 520</, td> | 580 | 12-M20 | 10 |
| C | 470 | 520 | 580 | 12-M20 | 6 | |
| 110 | Z | 520 | 590 | 650 | 12-M20 | 12 |
| C | 470 | 520 | 580 | 12-M20 | 6 | |
| 120 | Z | 520 | 590 | 650 | 12-M20 | 12 |
| C | 550 | 600 | 660 | 12-M20 | 6 | |
| 130 | Z | 680 | 800 | 880 | 12-M30 | 12 |
| C | 680 | 800 | 880 | 12-M30 | 8 | |
| 140 | Z | 680 | 800 | 880 | 12-M30 | 12 |
| 180 | Z | 900 | 1020 | 1160 | 12-M36 | 12 |
注:1、減速機類別代號Z為x系列,B系列的擺線針輪減速C為LC型,DC型齒輪減速機。
2、其他類型減速機由我公司對接口加以調整后也可配套。

a>